E-Mail: sales@gidi-chain.com

Reparatur der Hülsenrollenkette

2019-07-10 10:09:01

1. Reparatur der Längskettenhälfte

Im Allgemeinen hat das Kettengetriebe eine Spannvorrichtung, aber einige landwirtschaftliche Maschinen haben diese Struktur nicht. Aufgrund der Kettenverlängerung läuft und klopft das Getriebe und es funktioniert nicht richtig. Wenn der Kettenverschleiß den Grenzwert nicht überschreitet, kann eine Gruppe von Ketten entfernt und auf die entsprechende Spannung eingestellt werden. Dies geschieht jedoch in der Praxis. Wenn eine Gruppe von Ketten nicht zu lang ist, ist eine Gruppe von Ketten zu kurz. Bei der Reparatur kann die Hälfte der Ketten modifiziert und entfernt werden.

 

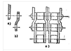
Wenn die einreihige Hülsenrollenkette wieder angebracht wird, werden zwei zylindrische Stifte nach unten gespült, eine Rolle, die Hülse und zwei innere Ketten werden entfernt, zwei äußere Ketten werden in die Form von Fig. B gezogen und dann werden Bögen an den entsprechenden Punkten gefeilt von zwei benachbarten Außenketten (Abbildung a), um Reibung nach der Montage zu vermeiden. Zur Erleichterung der Installation können die Rollen und Hülsen am Umrüstungsort entsprechend etwas kürzer gefeilt und dann gemäß Abbildung C zusammengebaut werden.

图片 1.png

Schematische Darstellung zur Reparatur der Kettenhälfte

Doppelhülsen-Rollenketten können auch mit ähnlichen Modifikationsmethoden repariert werden.

Eine weitere Modifikation besteht darin, den Stiftschaft zu verlängern, wenn die Struktur dies zulässt (wie unten gezeigt). Zunächst werden die Kettenstifte 1, 2 und 3 entfernt, um die Kette zu trennen. Dann werden die zwei inneren Ketten, die die Rollen B und C verbinden, entfernt und zu vier kreisförmigen Auflagen verarbeitet. Zwei verbleiben an der ursprünglichen Stelle der Rollen b und die anderen beiden befinden sich an der äußeren Position der Rollen D. Entfernen Sie die Rolle C und nieten Sie sie mit zwei langen Stiften.

图片 2.png

Schematische Darstellung zur Reparatur der Kettenhälfte

Abbildung: 1-, 2-, 3-Pins; 4-Innenketten; 5-Außenketten; 6 - lange Stifte

 

2. Reparatur der abgenutzten Kette

Die Steigung der Kette nimmt nach dem Verschleiß zu, was hauptsächlich auf den Verschleiß der einfachen Kanten von Stift und Hülse zurückzuführen ist.

Je nach Ausrüstungszustand kann eine Zersetzung oder eine Reparatur ohne Zersetzung vorgenommen werden.

图片 3.png 

Zersetzungsreparatur

Gemäß dem Reparaturprinzip zur Einstellung der Transpositionsmethode werden die Stifte und Hülsen mit einseitigem Verschleiß auf 180-Grad gedreht, damit die normale Teilung wiederhergestellt wird (Abb. C unten). Aus diesem Grund wird die Kette mit übermäßigem Verschleiß vollständig zersetzt, die beschädigten Teile werden beseitigt und die Teile, die verwendet werden können, werden gemäß den obigen Verfahren wieder zusammengebaut. Über 80% der Teile können weiterhin verwendet werden.

 

Verschleiß und Einstellung der Hülsenrollenkette

Einfache Spezialausrüstung sollte verwendet werden, wenn die Hülsenrollenkette zersetzt ist. Die Länge der Zweikanalstähle beträgt 500 mm. Der Spannschraubenkopf ist an einer Seite des Kanalstahls angeschweißt. Der Abstand des Kanalstahls kann durch Schütteln des Gewindegriffs entsprechend den verschiedenen Teilungen der Kette eingestellt werden, so dass sich die Kette auf dem Kanalstahl abstützt. Die Federkraft in der Schraube drückt immer auf den Kanalstahl, um das Öffnen des Kanalstahls zu gewährleisten.

 4.png 

Aufschlussausrüstung der Hülsenrollenkette

Nachdem die Kette in das Gerät geladen wurde, wird die kleine Achse des Gabelarms von dem Stempel herausgeschlagen, und dann werden die innere Kette und die Hülse von der Stanzform abgelegt.

Nachdem die Kette zerlegt wurde, wird sie sorgfältig gereinigt und identifiziert, und Teile können zur Montage ausgewählt werden. Beim Zusammenbau wird die Stiftwelle mit einem Schraubstock festgeklemmt und die Kette um 180 Grad verdreht. Die in die innere Kette eingebaute Hülse ist ebenfalls um 180 Grad verdreht, so dass die Verschleißfläche der Hülse auf der Innenseite gegenüberliegt. Um den losen Sitz zwischen innerer Kette und Hülse zu vermeiden, wird der Sitz mit dem Stempel festgezogen und die Stiftwelle mit der äußeren Kette vernietet.

 

Reparatur ohne Zersetzung

Dies ist eine relativ einfache Reparaturmethode, es muss nicht die Kette zerlegt werden, sondern die äußere Kettenteilung verkürzt werden, damit die gesamte Kettenteilung wieder in den Normalzustand übergeht.

 

Bei der Reparatur wird die Kette auf die Vorrichtung gelegt, dann wird der mittlere Teil der äußeren Kette durch elektrischen Hochfrequenzstrom erwärmt, um den plastischen Zustand zu erreichen, und dann wird das Extrudieren und Stauchen der äußeren Kette auf die erforderliche Teilung wiederhergestellt. Um den gleichen Bearbeitungsabstand zu gewährleisten, wird ein Positionierer zwischen die Walzen gelegt.

 

Das reparierte Scharnierteil des Kettengelenks kann sich frei von Hand drehen und die Rolle kann sich frei in der Hülse drehen. Anschließend wird es auf dem Prüfstand installiert und für 20-Minuten bei 350-400-U / min getestet, um den Betrieb zu überprüfen und die gefundenen Probleme zu beheben. Die reparierten Ketten sollten bei 80-90 C für 15-20 Minuten in Altöl getaucht werden, damit die innere Reibfläche der Ketten gut geschmiert werden kann. Niedrige Temperatur, kurze Zeit ist Öl nicht

 

Einfach zu infiltrieren, wenn der Hochfrequenzoszillator beim Infiltrieren auf 1000-2000-Zeiten pro Minute geschaltet wird, ist der Infiltrationseffekt besser und die Zeit kann auf nur 2-3-Minuten verkürzt werden. Die Kette sollte nach dem Eintauchen in Öl aufgehängt, sauberes Öl getropft und dann verwendet oder konserviert werden.

GIDI CHAIN ​​LIMITED liefern viel Rollenkette, Förderungskette,  , geschmiedete Kette, Kette der Palmölmühle, Hebekette,Bergwerks- und Metallurgiekette, usw. Insgesamt über 3000-Sorten. und 90% der Ketten werden in die ganze Welt exportiert, die hauptsächlich nach Südostasien, Europa, Nordamerika und Südamerika exportieren. Ketten werden von den Kunden mit der ausgezeichneten Qualität begrüßt. Unser Unternehmen verfügt über mehr als 100-Sätze fortschrittlicher und professioneller Fertigungsanlagen. Ein perfektes und strenges QC-System wird in jedem Prozess implementiert, vom Materialeinkauf bis zur Verpackung der fertigen Produkte. Außerdem haben wir die ISO9001: 2015-Zertifizierung für das Qualitätsmanagementsystem bestanden.

Mehr Details : www.gidi-chain.com